Dubbo 常见面试题目
1、Dubbo是什么?Dubbo是阿里巴巴开源的基于 Java 的高性能 RPC 分布式服务框架,现已成为 Apache 基金会孵化项目。面试官问你如果这个都不清楚,那下面的就没必要问了。官网:http://dubbo.apache.org2、为什么要用Dubbo?因为是阿里开源项目,国内很多互联网公司都在用,已经经过很多线上考验。内部使用了 Netty、Zookeeper,保证了高性能高可用性。
1、Dubbo是什么?
Dubbo是阿里巴巴开源的基于 Java 的高性能 RPC 分布式服务框架,现已成为 Apache 基金会孵化项目。
面试官问你如果这个都不清楚,那下面的就没必要问了。
官网:http://dubbo.apache.org
2、为什么要用Dubbo?
因为是阿里开源项目,国内很多互联网公司都在用,已经经过很多线上考验。内部使用了 Netty、Zookeeper,保证了高性能高可用性。
使用 Dubbo 可以将核心业务抽取出来,作为独立的服务,逐渐形成稳定的服务中心,可用于提高业务复用灵活扩展,使前端应用能更快速的响应多变的市场需求。
下面这张图可以很清楚的诠释,最重要的一点是,分布式架构可以承受更大规模的并发流量。

下面是 Dubbo 的服务治理图。

3、Dubbo 和 Spring Cloud 有什么区别?
两个没关联,如果硬要说区别,有以下几点。
1)通信方式不同
Dubbo 使用的是 RPC 通信,而 Spring Cloud 使用的是 HTTP RESTFul 方式。
2)组成部分不同

4、dubbo都支持什么协议,推荐用哪种?
-
dubbo://(推荐)
-
rmi://
-
hessian://
-
http://
-
webservice://
-
thrift://
-
memcached://
-
redis://
-
rest://
5、Dubbo需要 Web 容器吗?
不需要,如果硬要用 Web 容器,只会增加复杂性,也浪费资源。
6、Dubbo内置了哪几种服务容器?
-
Spring Container
-
Jetty Container
-
Log4j Container
Dubbo 的服务容器只是一个简单的 Main 方法,并加载一个简单的 Spring 容器,用于暴露服务。
7、Dubbo里面有哪几种节点角色?

8、画一画服务注册与发现的流程图

该图来自 Dubbo 官网,供你参考,如果你说你熟悉 Dubbo, 面试官经常会让你画这个图,记好了。
9、Dubbo默认使用什么注册中心,还有别的选择吗?
推荐使用 Zookeeper 作为注册中心,还有 Redis、Multicast、Simple 注册中心,但不推荐。
10、Dubbo有哪几种配置方式?
1)Spring 配置方式
2)Java API 配置方式
11、Dubbo 核心的配置有哪些?
我曾经面试就遇到过面试官让你写这些配置,我也是蒙逼。。

配置之间的关系见下图。

12、在 Provider 上可以配置的 Consumer 端的属性有哪些?
1)timeout:方法调用超时
2)retries:失败重试次数,默认重试 2 次
3)loadbalance:负载均衡算法,默认随机
4)actives 消费者端,最大并发调用限制
13、Dubbo启动时如果依赖的服务不可用会怎样?
Dubbo 缺省会在启动时检查依赖的服务是否可用,不可用时会抛出异常,阻止 Spring 初始化完成,默认 check="true",可以通过 check="false" 关闭检查。
14、Dubbo推荐使用什么序列化框架,你知道的还有哪些?
推荐使用Hessian序列化,还有Duddo、FastJson、Java自带序列化。
15、Dubbo默认使用的是什么通信框架,还有别的选择吗?
Dubbo 默认使用 Netty 框架,也是推荐的选择,另外内容还集成有Mina、Grizzly。
16、Dubbo有哪几种集群容错方案,默认是哪种?

17、Dubbo有哪几种负载均衡策略,默认是哪种?

18、注册了多个同一样的服务,如果测试指定的某一个服务呢?
可以配置环境点对点直连,绕过注册中心,将以服务接口为单位,忽略注册中心的提供者列表。
19、Dubbo支持服务多协议吗?
Dubbo 允许配置多协议,在不同服务上支持不同协议或者同一服务上同时支持多种协议。
20、当一个服务接口有多种实现时怎么做?
当一个接口有多种实现时,可以用 group 属性来分组,服务提供方和消费方都指定同一个 group 即可。
21、服务上线怎么兼容旧版本?
可以用版本号(version)过渡,多个不同版本的服务注册到注册中心,版本号不同的服务相互间不引用。这个和服务分组的概念有一点类似。
22、Dubbo可以对结果进行缓存吗?
可以,Dubbo 提供了声明式缓存,用于加速热门数据的访问速度,以减少用户加缓存的工作量。
23、Dubbo服务之间的调用是阻塞的吗?
默认是同步等待结果阻塞的,支持异步调用。
Dubbo 是基于 NIO 的非阻塞实现并行调用,客户端不需要启动多线程即可完成并行调用多个远程服务,相对多线程开销较小,异步调用会返回一个 Future 对象。
24、Dubbo支持分布式事务吗?
目前暂时不支持,后续可能采用基于 JTA/XA 规范实现,如以图所示。

25、Dubbo telnet 命令能做什么?
dubbo 通过 telnet 命令来进行服务治理,具体使用看这篇文章《dubbo服务调试管理实用命令》。
telnet localhost 8090
26、Dubbo支持服务降级吗?
Dubbo 2.2.0 以上版本支持。
27、Dubbo如何优雅停机?
Dubbo 是通过 JDK 的 ShutdownHook 来完成优雅停机的,所以如果使用 kill -9 PID 等强制关闭指令,是不会执行优雅停机的,只有通过 kill PID 时,才会执行。
28、服务提供者能实现失效踢出是什么原理?
服务失效踢出基于 Zookeeper 的临时节点原理。
29、如何解决服务调用链过长的问题?
Dubbo 可以使用 Pinpoint 和 Apache Skywalking(Incubator) 实现分布式服务追踪,当然还有其他很多方案。
30、服务读写推荐的容错策略是怎样的?
读操作建议使用 Failover 失败自动切换,默认重试两次其他服务器。
写操作建议使用 Failfast 快速失败,发一次调用失败就立即报错。
31、Dubbo必须依赖的包有哪些?
Dubbo 必须依赖 JDK,其他为可选。
32、Dubbo的管理控制台能做什么?
管理控制台主要包含:路由规则,动态配置,服务降级,访问控制,权重调整,负载均衡,等管理功能。
33、说说 Dubbo 服务暴露的过程。
Dubbo 会在 Spring 实例化完 bean 之后,在刷新容器最后一步发布 ContextRefreshEvent 事件的时候,通知实现了 ApplicationListener 的 ServiceBean 类进行回调 onApplicationEvent 事件方法,Dubbo 会在这个方法中调用 ServiceBean 父类 ServiceConfig 的 export 方法,而该方法真正实现了服务的(异步或者非异步)发布。
34、Dubbo 停止维护了吗?
2014 年开始停止维护过几年,17 年开始重新维护,并进入了 Apache 项目。
35、Dubbo 和 Dubbox 有什么区别?
Dubbox 是继 Dubbo 停止维护后,当当网基于 Dubbo 做的一个扩展项目,如加了服务可 Restful 调用,更新了开源组件等。
36、你还了解别的分布式框架吗?
别的还有 Spring cloud、Facebook 的 Thrift、Twitter 的 Finagle 等。
37、Dubbo 能集成 Spring Boot 吗?
可以的,项目地址如下。
https://github.com/apache/incubator-dubbo-spring-boot-project
38、在使用过程中都遇到了些什么问题?
Dubbo 的设计目的是为了满足高并发小数据量的 rpc 调用,在大数据量下的性能表现并不好,建议使用 rmi 或 http 协议。
39、你读过 Dubbo 的源码吗?
要了解 Dubbo 就必须看其源码,了解其原理,花点时间看下吧,网上也有很多教程,后续有时间我也会在公众号上分享 Dubbo 的源码。
40、你觉得用 Dubbo 好还是 Spring Cloud 好?
扩展性的问题,没有好坏,只有适合不适合,不过我好像更倾向于使用 Dubbo, Spring Cloud 版本升级太快,组件更新替换太频繁,配置太繁琐,还有很多我觉得是没有 Dubbo 顺手的地方……
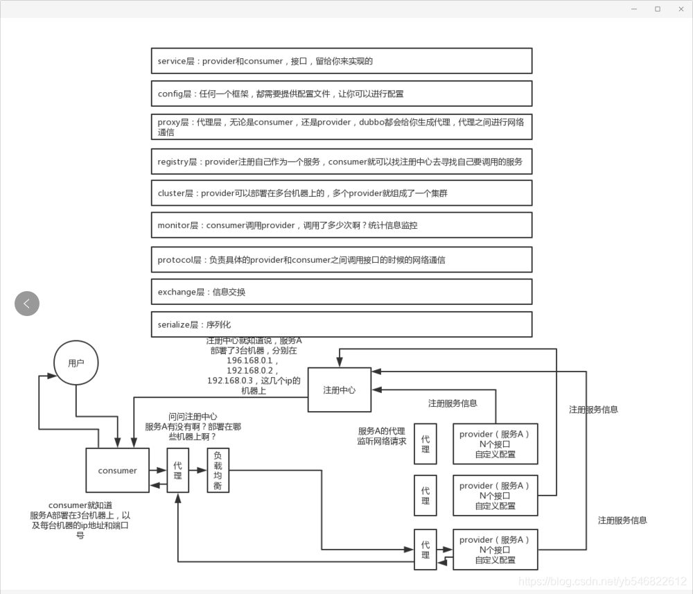
41、dubbo工作原理
第一层:service层,接口层,给服务提供者和消费者来实现的
第二层:config层,配置层,主要是对dubbo进行各种配置的
第三层:proxy层,服务代理层,透明生成客户端的stub和服务单的skeleton
第四层:registry层,服务注册层,负责服务的注册与发现
第五层:cluster层,集群层,封装多个服务提供者的路由以及负载均衡,将多个实例组合成一个服务
第六层:monitor层,监控层,对rpc接口的调用次数和调用时间进行监控
第七层:protocol层,远程调用层,封装rpc调用
第八层:exchange层,信息交换层,封装请求响应模式,同步转异步
第九层:transport层,网络传输层,抽象mina和netty为统一接口
第十层:serialize层,数据序列化层
工作流程:
1)第一步,provider向注册中心去注册
2)第二步,consumer从注册中心订阅服务,注册中心会通知consumer注册好的服务
3)第三步,consumer调用provider
4)第四步,consumer和provider都异步的通知监控中心

dubbo的工作原理.png
42、注册中心挂了可以继续通信吗?
可以,因为刚开始初始化的时候,消费者会将提供者的地址等信息拉取到本地缓存,所以注册中心挂了可以继续通信。
43、Dubbo的执行流程:
项目一启动,加载配置文件的时候,就会初始化,服务的提供方ServiceProvider就会向注册中心注册自己提供的服务,当消费者在启动时,就会向注册中心订阅自己所需要的服务,如果服务提供方有数据变更等,注册中心将基于长连接的形式推送变更数据给消费者。
默认使用Dubbo协议:
连接个数:单连接
连接方式:长连接
传输协议:TCP
传输方式:NIO异步传输
序列化:Hessian二进制序列化
适用范围:传入传出参数数据包较小(建议小于100K),消费者比提供者个数多,单一消费者无法压满提供者,尽量不要使用dubbo协议传输大文件或超大字符串
使用场景:常规远程服务方法调用
从上面的适用范围总结,dubbo适合小数据量大并发的服务调用,以及消费者机器远大于生产者机器数的情况,不适合传输大数据量的服务比如文件、视频等,除非请求量很低。
44、Dubbo的安全性如何得到保障:
a.在有注册中心的情况下,可以通过dubbbo admin中的路由规则,来指定固定ip的消费方来访问
b.在直连的情况下,通过在服务的提供方中设置密码(令牌)token,消费方需要在消费时也输入这 个密码,才能够正确使用。
Dubbo添加服务ip白名单,防止不法调用
45、Duubo中如何保证分布式事务?
一般情况下,我们尽量将需要事务的方法放在一个service中,从而避开分步式事务。
Dubbo底层是基于socket: Socket通信是一个全双工的方式,如果有多个线程同时进行远程方法调用,这时建立在client server之间的socket连接上会有很多双方发送的消息传递,前后顺序也可能是乱七八糟的,server处理完结果后,将结果消息发送给client,client收到很多消息,怎么知道哪个消息结果是原先哪个线程调用的?
答:使用一个ID,让其唯一,然后传递给服务端,再服务端又回传回来,这样就知道结果是原先哪个线程的了。
47、Dubbo的心跳机制:
目的:
维持provider和consumer之间的长连接
实现:
dubbo心跳时间heartbeat默认是1s,超过heartbeat时间没有收到消息,就发送心跳消 息(provider,consumer一样),如果连着3次(heartbeatTimeout为heartbeat*3)没有收到心跳响应,provider会关闭channel,而consumer会进行重连;不论是provider还是consumer的心跳检测都是通过启动定时任务的方式实现;
Dubbo的zookeeper做注册中心,如果注册中心全部挂掉,发布者和订阅者还能通信吗?
可以通信的,启动dubbo时,消费者会从zk拉取注册的生产者的地址接口等数据,缓存在本地。每次调用时,按照本地存储的地址进行调用;
注册中心对等集群,任意一台宕机后,将会切换到另一台;注册中心全部宕机后,服务的提供者和消费者仍能通过本地缓存通讯。服务提供者无状态,任一台 宕机后,不影响使用;服务提供者全部宕机,服务消费者会无法使用,并无限次重连等待服务者恢复;
挂掉是不要紧的,但前提是你没有增加新的服务,如果你要调用新的服务,则是不能办到的。
更多推荐


所有评论(0)